ВМФ разработал подводный беспилотник в форме торпеды

ВМФ разработал подводный беспилотник в форме торпеды

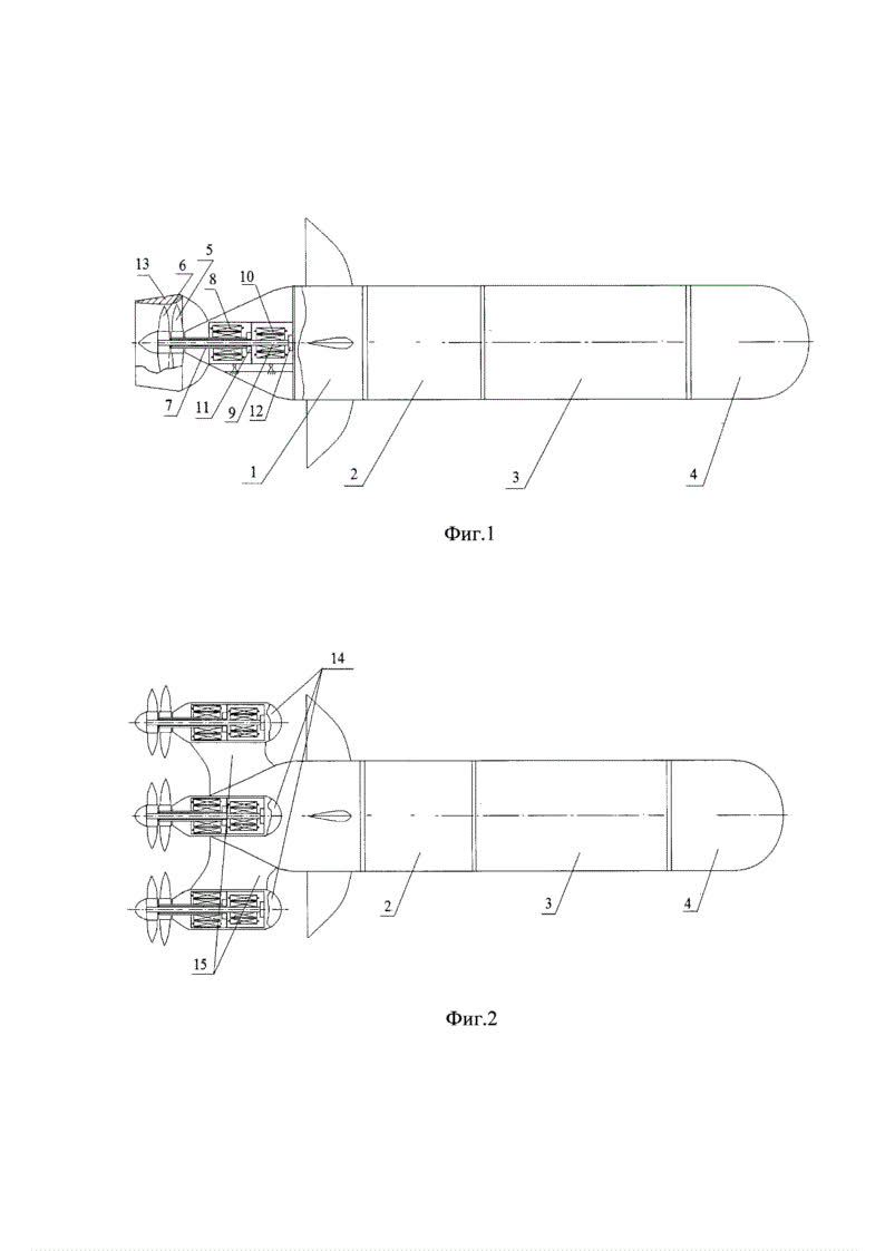
ВМФ разработал подводный беспилотник в форме торпеды. С патентом документом ознакомился корреспондент ТАСС.

Фото: Федеральный институт промышленной собственности

Подпишись на ТАСС в Max

Источник: Telegram-канал "ТАСС"

Топ

Лента новостей